Aluminum Flood Barrier for Doors and Garages
This
aluminum flood barrier is the ideal solution for protecting homes, garages, and commercial premises from flooding, heavy rain, and overflowing.
The flood barrier is designed for simple, self-installation, with no masonry work required. Its exclusive gasket compression system ensures an
extremely effective watertight seal.
Made in Italy.
This
door flood barrier is equipped with special seals on three sides, designed to be watertight even under pressure:
- double-sided bottom seal;
- elastic side seals that return to their original shape;
- high quality materials, all easily interchangeable.
The
manual system allows the seals to be compressed effortlessly, ensuring effective protection even against small infiltrations.
Ideal for:
- doors of private homes;
- garage;
- shops and commercial premises;
- areas subject to flooding and heavy rainfall.

Main advantages of flood barriers
- robust and lightweight aluminum flood barrier;
- ideal as a flood barrier for doors and garages ;
- vertical and horizontal gasket compression system ;
- 2 cm tolerance on measurements , to avoid measurement errors;
- quick and easy DIY assembly ;
- removable bulkhead : it remains installed only when necessary.

Technical features of the flood barrier
- flood barrier made of modular slatted aluminum;
- side supports in galvanized steel;
- integrated handle for moving;
- gasket tensioning system;
- quick installation and immediate use;
- standard bulkhead color anodized silver;
- 5x5 cm galvanized steel profiles;
- hydraulic leak test;
- Extremely light (weight approximately 14.3 kg per m2);
Product patented and certified by engineers specialized in the hydraulic pressure resistance sector.

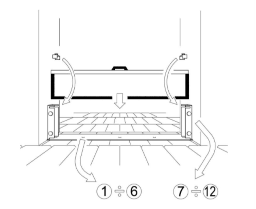
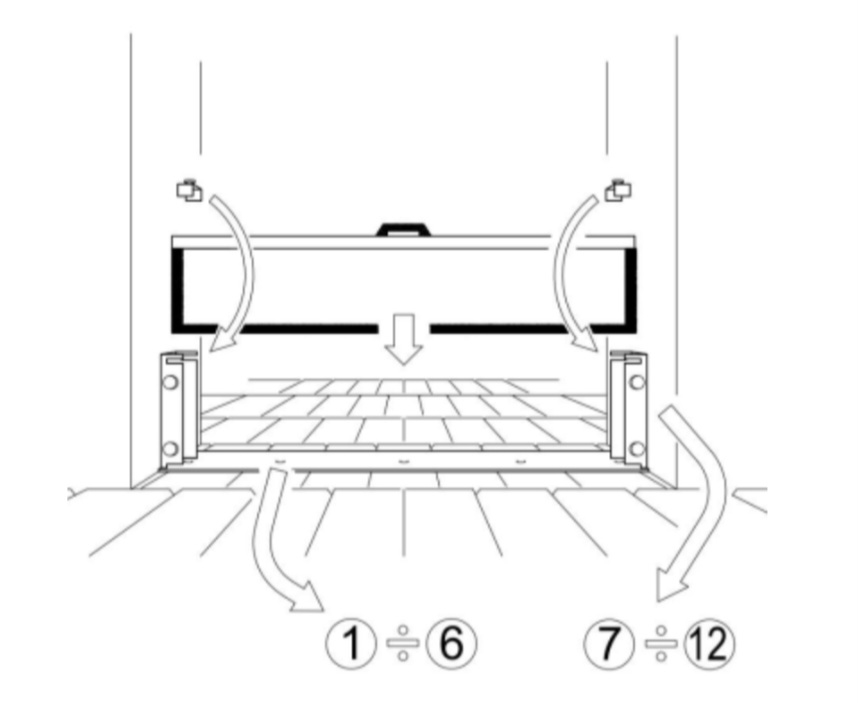
Quick and easy installation
The bulkhead is supplied in
a pre-assembled kit . For installation, all you need is:
- fix the two side supports to the jambs of the wall;
- spread silicone along the perimeter of the guides;
- screw with the supplied screws.
Once the guides are mounted, the flood barrier is ready for use:
when needed, it is inserted into the guides and the knobs are turned to tension the seals.
Contents of the flood barrier kit
- 1 aluminum flood bulkhead;
- 1 pair of “U” shaped side supports;
- fixing screws and plugs;
- threshold profile (useful in the presence of uneven pavements).
Equipment needed for installation
- drill;
- screwdriver;
- silicone.
